TOOLS.GRLamelloZeta P2 > Clamex P-14 フレクサス

Lamello Clamex P-14 フレクサス


P14



【Clamex Flexusビデオ】
PV_Flexus


突起部に引き込み機構を採用

<用途>
家具:
固定棚板や間仕切り板、背板などの組立。隙間家具の組立。小箱の組立。中空構造の組立。
コーナーラックの棚板固定。間仕切り接合。様々な角度の接合。
材料/パーティクルボード、MDF、合板、広葉樹など

クラメックス P-14 フレクサス
品番 入数 販売価格(税込) ご注文個数
50組 13,090円
145315 80組 20,900円
145316 300組 70,290円
145317 1000組 214,280円
cart
※送料サービス
◆クラメックス P-14フレクサスの特徴
P-14_11s   P-14_11s   P-14_11s
組立順序に困りません
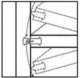
  後付けの棚も自由に取付けられます   組立方向の制限がありません
突起部が引き込みますので、組立順序を考える必要がなく、作業を進めることができます。   突起部が引き込みますので、棚の取り付け位置も傾きも後から決められます。   突起部がまっすぐに引き込みますので、上下左右どちらの方向からでも組み立てることができます。

標準クラメックスP-14の全ての特徴も兼ね備えています
P-14_13s   P-14_12s   P-14_11s
組立・分解が簡単   見た目は最小限   フレキシビリティ
組立金具の組立や分解は六角棒スパナを約90度回すだけで非常に素早くできます。   接合したり、分解する時の六角棒レンチを差し込む穴の直径は6mmと小さく、カバーキャップを使えばほとんど目立ちません。   直角接合だけでなく、22.5度(但し、板材が19mm厚の場合)から180度までの様々な角度での接合ができます。

◆クラメックス P-14 フレクサス金具の寸法

P14_001  

クラメックス P-14 フレクサス
サイズ アンカーパーツ:64x13.5x9.7mm
ロックパーツ:52x7.5x9.7mm
金具材質 グラスファイバー樹脂
レバー材質 亜鉛ダイカスト
長手方向の交差 ±0mm
半径方向の交差 ±1mm
最大引張強度 MDF………72kg
合板…………60kg
ブナ材………81kg

 

※Clamexのアクサリーについては別売アクセサリーのページをご覧ください。

ラメロP-システムの詳細についてはP-システムのページをご参照ください。